• 索 引 号:370403/2026-00472
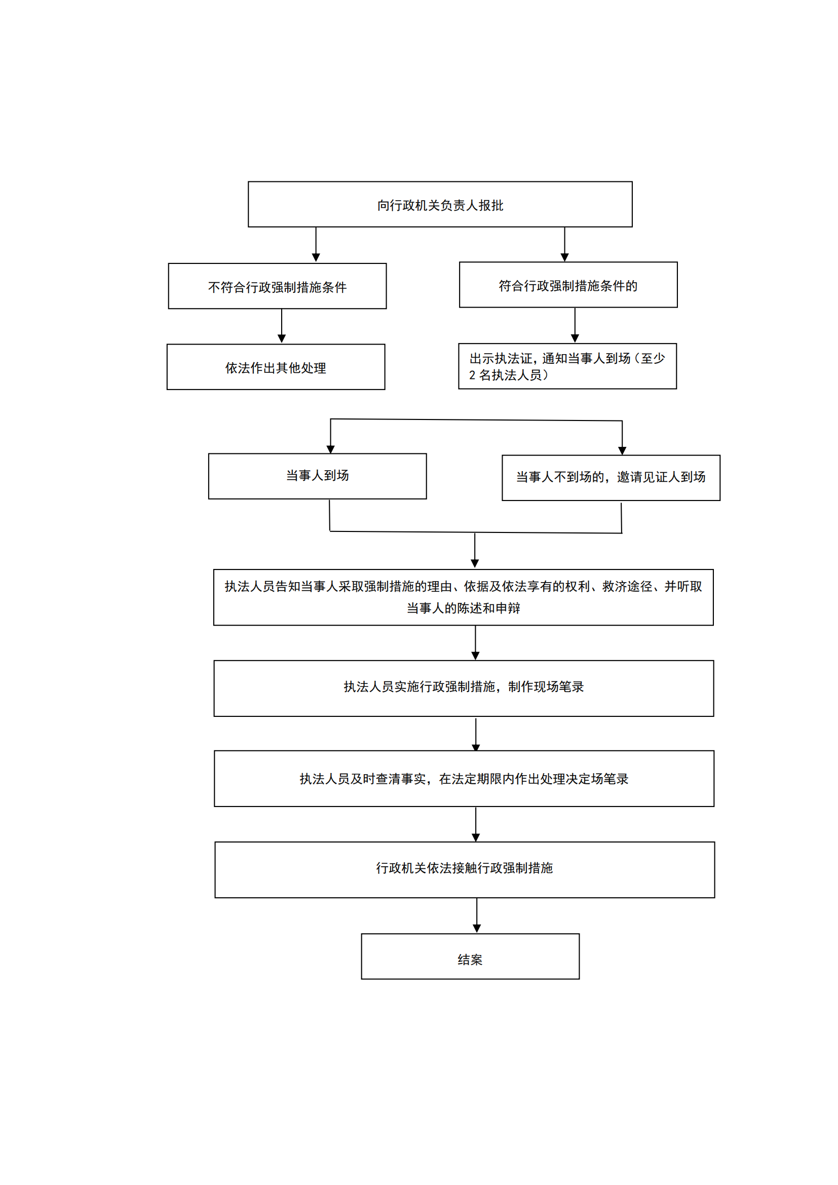
  • 主题分类:执法流程图
  • 发布机构:薛城区司法局
  • 成文时间:2026年03月12日
  • 文  号:
  • 发文时间:2026年03月12日
  • 标  题:薛城区司法局执法流程图
  • 效力状态:有效

薛城区司法局执法流程图